How to Use the SIGFOX Technology to Connect to the Internet of Things
Contributed By DigiKey's European Editors
2016-04-12
One of the most significant challenges for the Internet of Things (IoT) is the ability to add wireless sensor nodes easily and cost effectively. The wireless link needs to be low power so that the node can run for years on a single coin cell, and yet have a long range so that thousands of nodes can connect to a gateway to collect data.
This is a significant challenge. SIGFOX in France has developed a low-power radio protocol, network implementation, and cloud-computing infrastructure that can be used to connect millions of low-power wireless devices. The low-power protocol is combined with a network of gateways similar to a cellular phone system, but unlike machine-to-machine applications on a cellular network, the SIGFOX network is dedicated to IoT applications such as health or energy monitoring, temperature and humidity sensing or security sensor monitoring.
SIGFOX has optimized its network implementation for the low data rates unidirectional aspects of these applications. The network supports rates of 100 bit/s from the node to the gateway, with data transfers limited to 140 times a day. This is still sufficient for monitoring applications, but allows an energy meter, for example, to operate with a link power budget of just 50 microwatts rather than one watt for a cellular network. Focusing on uploads also allows the design of the gateway to be shifted to have a more sensitive receiver that can handle data from thousands of nodes.

Figure 1: Atmel’s ATA8520-EK3-E kit provides simple, low-power access to the SIGFOX network for the Internet of Things (IoT).
The protocols and identification codes that make this possible are embedded into a low-power 8-bit AVR® microcontroller from Atmel that combines the wireless transceiver for the 868 MHz band for use in Europe. The SIGFOX protocol transmits a telegram of data every hour to keep the battery life of the wireless node as long as possible, and this telegram is received by a SIGFOX gateway. The company has been rolling out its network across Europe, Asia and the US using a range of frequencies to ensure that wireless nodes can easily connect to a gateway. This operation in the 868 MHz unlicensed band and a transmit power of +14.5 dBm allows a range of up to 40 km in rural areas or 1 to 3 km in a city where buildings limit the range.
The network has been optimized for long range and low power using differential binary phase shift keying (DBPSK) modulation. This is a highly efficient, robust modulation scheme that carries one bit per symbol and does not need carrier recovery. The robustness of the coding allows for the long range, and the simplicity helps to keep the power consumption low, as it can be handled by an 8-bit processor. While it is not suitable for high data rate applications, the 100-bit/s data rate is well suited to long range, low-power wireless sensor node applications with regular updates of small amounts of data.
Atmel’s ATA8520-EK3-E kit is pre-programmed with the SIGFOX protocol stack that implements DBPSK coding in a power-optimized 8-bit AVR controller. It also includes the PAC registration code to register the kit with SIGFOX and the ID code that is added to the front of each data telegram. The codes are available on the PCB of the kit, and the user needs to sign up for a SIGFOX cloud account and use this data to register the device. The kit includes a one-year SIGFOX platinum level subscription with support for the ETSI version of the kit in Europe with up to 140 uplink messages per day and device and up to four downlink messages per day and device. The downlink is not supported with this kit, as it is used for querying the wireless nodes and over-the-air software updates.

Figure 2: The pins on Atmel's ATA8520-EK3-E board
The board needs to be powered, either from a battery or external power supply for 3.0 V to 3.3 V at 50 mA. This power supply has to be connected to connector X1 (Figure 2) with the correct polarity, as there is no protection against an incorrect connection. The supply voltage ranges 1.9 V to 3.6 V and 2.4 V to 5.5 V to provide a SIGFOX compliant supply range of 3 V ±5% and 3.3 V to 5.5 V.
The microcontroller includes applications in the flash memory to read the output of the temperature sensor on the board and to control transmission on the SIGFOX network. This requires a SIGFOX base station to be in range to capture the RF telegram.
Once the kit is powered up, the applications are set running. These transmit over the SIGFOX network at one-hour intervals with the temperature and battery voltage value. The red LED flashes seven to eight times when the telegram is being sent.
In addition, a transmission can be triggered by pressing the SW1 button (Figure 2).
The kit includes a quick start guide and user guide, the schematic, layout and Gerber data for the PCB so that customers can have the board made themselves, and the source code for the controller.
For developing additional applications or adding new sensors, the kit also includes an AVR debugger that uses the JTAGICE3 or Atmel ICE interface to the board. This can be used with Atmel’s Studio 6 development environment along with the source code.
The kit is pre-programmed and temperature calibrated to operate at room temperature (24°C) but can be used with a wider temperature range from -20°C to +55°C.
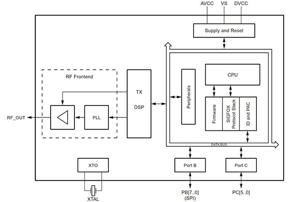
The heart of the board is the ATA8520 system-on-chip (Figure 3). This has three main sections: an RF front end, a digital baseband and the low-power 8-bit AVR microcontroller that handles the protocol and the interface to the sensors, all in a 5 x 5 mm QFN32 package with a pitch of 0.5 mm for easy manufacturability and testing.

Figure 3: Atmel’s ATA8520 combines an RF front end, digital baseband and 8-bit controller with the SIGFOX protocol stack pre-programmed in flash memory.
The radio front end uses a closed loop fractional-N modulator phase locked loop (PLL) on the chip combined with an external crystal to fix the Tx frequency. Accurate load capacitors for this crystal are integrated into the chip to reduce the system part count and cost. This means only four supply blocking capacitors are needed to decouple the different supply voltages on the Avcc, Dvcc, Vcc, and Vs_PA (power amplifier) pins (shown in Figure 4).
A key element of the design for IoT applications is the low current consumption. The device uses 32.7 mA during telegram transmit with +14.5 dBm TX output power for maximum range, and that can be reduced if a lower range is acceptable. When the device is not transmitting or accepting data from the sensor, it is placed into sleep mode. This typically consumes 5 nA to provide a long battery life, with a maximum current consumption of 600 nA at 3 V.
Figure 4 shows how an external controller can be used by connecting to the SPI pins SCK, MOSI, MISO, and NSS. These functions are defined by the internal firmware running on the AVR controller, which accepts SPI commands to control the device and to start the data telegram transmission. The end of the telegram transmission is signaled to an external microcontroller on pin 28.

Figure 4: Adding an external microcontroller to access the SPI control lines on Atmel's ATA8520.
One key factor in using the board is that all PWRon and NPWRon pins (PC1-5, PB4 and PB7) are active in OFF mode. This means that even if the device is in OFF mode and the Dvcc voltage is switched off, the power management circuitry within the chip biases these pins with the voltage source Vs. This means the ports can be used as button inputs, LED drivers, EVENT pin, general purpose digital inputs, or wake-up inputs.
After connecting the supply voltage, the chip always starts in OFF mode where all internal circuits are disconnected from the power supply. This means no SPI communication is supported, so the device is woken up by activating the PWRon pin or one of the NPWRonx pins. This triggers the power-on sequence, which sets the event line PB6 to low and initializes the system, leaving the device in IDLE mode. This typically takes 10 ms before SPI commands are supported and data can be transmitted.
The transmit mode (TX Mode) starts the data transmission using the payload data which has been written into the transmit buffer with the SPI command “Write TX Buffer”. The data transmission is started with the SPI command “Send Frame”. The transmit operation takes approximately 7 seconds and generates an event on the EVENT signal with pin PB6 switching to low when finished. The device then falls back to IDLE Mode again to minimize the power consumption, and the data is available on the SIGFOX servers.
Conclusion
The single chip combining the 8-bit controller and radio transceiver provides a simplified way of connecting a wireless sensor to the SIGFOX network. The system will scale as easily as adding new devices to the network, and the combination of the ATA8520-EK3-E board and the ATA8520 system-on-chip provides a quick and low-power way to add new nodes.
Disclaimer: The opinions, beliefs, and viewpoints expressed by the various authors and/or forum participants on this website do not necessarily reflect the opinions, beliefs, and viewpoints of DigiKey or official policies of DigiKey.