ANT/ANT+ Solutions Speed Low-Power Wireless Design
Contributed By Electronic Products
2013-02-21
For low-power wireless sensor designs, standards-based protocols offer distinct advantages over proprietary approaches in delivering flexibility and compatibility within networks of intercommunicating nodes. While design solutions based on the Bluetooth® Low Energy (BLE) standard continue to emerge, ANT solutions have become prevalent in many low data rate application segments based on personal-area networks (PANs). In supporting ANT/ANT+ functionality in PAN-based products, engineers can take advantage of drop-in module solutions and ICs from companies such as ANT Wireless and Panasonic.
ANT is a wireless systems architecture that combines a 2.4 GHz ISM-band wireless networking protocol and an embedded systems solution (see ANT Protocol Basics Product Training Module). While ANT provides the base functionality, the ANT+ managed-network protocol supports interoperability between ANT system nodes. Particularly well suited to wireless sensor networks, ANT designs require minimal memory for the stack and can run on a coin cell battery for years for typical low data rate applications.
ANT/ANT+ is widely used for PAN applications in sports, fitness, wellness and home health. In fact, versions of ANT tailored to specific application areas can run in very compact design configurations. For example, ANT code designed specifically for heart rate monitors requires only 2k memory. Nevertheless, ANT/ANT+ offers high flexibility in creating networks of intercommunicating ANT nodes while maintaining crosstalk immunity and reliable communications.
ANT systems are based on firmware created and certified exclusively by ANT Wireless. To support ANT, semiconductor manufacturers rely on ANT Wireless to develop optimized stacks, typically hosted within modular implementations or on-chip firmware. The use of sole-sourced ANT stacks ensures compatibility and allows developers to focus on their specific application of ANT in their systems designs (Figure 1).

ANT Wireless offers modules and ICs with embedded ANT protocol designed to speed development of ANT/ANT+ applications. The ANT Wireless ANTAP281M4IB and ANTAP281M5IB modules each provide eight ANT channels and feature an integrated F antenna and 32.768 kHz crystal oscillator in a 20 x 20 mm package. The ANTAP281M4IB is surface mountable, while the ANTAP281M5IB provides a connector. ANT Wireless has certified the modules to comply with global radio regulations covering North America, Europe, Japan, and Australia.
Based on the Nordic Semiconductor nRF24AP2 RF IC, the modules feature –85 dBm receiver sensitivity and provide 4 dBm maximum output power. The modules consume 0.5 µA in deep-sleep mode and 2.0 µA in idle mode with inactive channels, while requiring only 15 mA active transmit current (0 dBm) and 17 mA active receiver current.
Each module offers a simple, 17-pinout assignment for the ANTAP281M4IB surface-mount module or 20-pin Molex header for the ANTAP281M5IB module. Engineers can connect the module directly to an applications processor such as the Texas Instruments MSP430F1232 MCU (Figure 2).

ANT Wireless also offers the ANT11TS33M4IB module based on the TI MSP430f22x2/4 MCU and Nordic nRF24L01 RF IC. Supporting eight ANT channels, this module offers similar operating characteristics but also includes ANT Wireless' SensRcore™ operating mode. The ANT Wireless SensRcore is a development platform that allows engineers to program the ANT11TS33M4IB module to operate without an external MCU, using scripts to control operation rather than develop firmware. This offers more rapid development of more compact designs. In this mode, channel configuration parameters are stored in non-volatile memory and are enabled upon power-up. Using SensRcore mode, engineers can develop a wireless sensor that connects directly to the sensor and operates in standalone fashion (Figure 3).

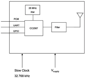
Engineers can also turn to Panasonic for drop-in ANT/ANT+ solutions. The Panasonic PAN1327/1317 Series RF modules support both ANT protocol and dual-mode Bluetooth connectivity. The PAN1327 includes an antenna in its 9 mm wide x 9.5 mm long x 1.8 mm high package, while the PAN1317 is an antennaless version of the family in a 6.5 x 9 x 1.7 mm package.
In operation, the modules provide –93 dBm receiver sensitivity and 10 dBm output power, requiring only 135 µA in ultra-low power scan mode. Based on the TI CC2567 RF IC (Dev Kit), the PAN1327/1317 modules provide easy integration with TI’s ultra-low power MSP430 MCUs (Figure 4).

Engineers can also build their own ANT/ANT+ designs based on the TI CC2571 RF IC. The CC2571 supports eight ANT channels and is designed for easy integration through a UART or SPI interface with a host MCU such as the TI MSP430 family. Because the lower layers of the ANT protocol are built into the IC (see, again, Figure 1), host MCU memory requirements are minimal.
The CC2571 features –86 dBm receiver sensitivity and achieves 4 dBm maximum output power delivered to a single-ended 50 Ω load. The device supports multiple serial interface modes, including asynchronous, byte synchronous, and bit synchronous, which are selected using external configuration pins.
Conclusions
The ANT/ANT+ protocol offers advantages in flexibility and low power required in many wireless applications. Available modules and ICs implement certified ANT stacks needed to build efficient designs. Using these modules and ICs, engineers can more easily build highly flexible, low-power wireless solutions able to exploit the advantages of the ANT/ANT+ protocol for low data rate applications like wireless sensors.
Disclaimer: The opinions, beliefs, and viewpoints expressed by the various authors and/or forum participants on this website do not necessarily reflect the opinions, beliefs, and viewpoints of DigiKey or official policies of DigiKey.


